差壓變送器是工業生產中一種非常常見的測量儀表,通過與其周邊測量設備的配套,可以很好的同時對于溫度、壓力、流量和液位進行測量,因為其測量精度很高,所以在許多工業生產領域得廣泛的應用。本文就是針對用戶在生產中經常會遇到的問題,對差壓變送器從工作原理到常見的測量應用場景,以及相關的安裝使用方法和注意事項,對平時經常出現的問題和故障作一些簡要的分析,并結合自己在平常學習和維護中一些方法和經驗對差壓變送器作一個簡要說明。
伴隨現代工業的科技進步,差壓變送器目前的應用范圍的廣度和深度也越來越大,因此隨之產生的問題也越來越多樣化,由于在安裝、使用、維護過程中的差異性,導致出現的問題不容易短期得到解決,不僅影響了生產的正常進行,還對安全生產,人身安全帶來隱患。
差壓變送器的工作原理:來自雙側導壓管的差壓直接作用于變送器傳感器雙側隔離膜片上,通過膜片內的密封液傳導至測量元件上,測量元件將測得的差壓信號轉換為與之對應的電信號傳遞給轉換器,經過放大等處理變為標準電信號輸出。
下邊列出我廠中應用差變的幾種測量方式:
(一) 與節流元件相結合利用節流元件的前后產生的差壓值測量液體流量
(二) 利用液體自身重力產生的壓力差,測量液體的高度
(三) 直接測量不同管道、罐體液體的壓力差值如圖1:
圖1管道檢差壓測量
差變的安裝主要有3個部分:1.電氣信號電纜的敷設2.導壓管的敷設3.表的安裝
象我們這樣的石油化工型單位對溫度這幾點參數是非常重視的,而差壓變送器除對溫度以外的三種參數都能很好的進行測量,而且它的測量精度又非常的高,所以它在煉廠實際應用也最多。
二、平常維護中的幾個典型故障分析及處理
故障現象1:2007年6月某廠無鹽水裝置外供水流量表顯示偏低。
解決過程:經現場察看為EJA智能變送器,詢問工藝和察看表以前工作情況,發現表以前也有類似情況不過偏差較小,分析可能原因為導壓管有堵、漏或表設置和通訊線路問題。隨即進行檢測,發現導壓管內并無堵、漏現象,對表進行檢測發現表本身也沒問題,現場顯示和操作室DCS上一致,證明通訊線路也良好,但顯示流量和實際就是相比就是偏低。由于操作介質為水,所以最后松開表兩段排污閥發現高壓側水壓明顯高于低壓測,判斷為導壓管堵、漏,但管本身并無堵、漏。最后仔細檢查三閥組和導壓管接口,終于發現表和導壓管接口處四氟墊片有點擠壓變形墊片孔徑變得很小,于是更換墊片察看表顯示,結果表顯示和現場實際立馬相符。
結論:現場檢查一定要仔細認真不放過每一個細節,每一個細節都可能影響到整體。經平常發現和總結導壓管堵塞是差壓變送器經常發生的問題也是平常處處理最多的問題。在儀表維護中,由于差壓變送器導壓管排放不及時,或介質臟、粘等原因,正負導壓管堵塞是經常發生的事,通常正導壓管堵塞的現象是:變送器輸出下降、上升或不變流量增加時,對變送器(變送器本身進行輸出信號開方)
輸處的影響。例如我廠Ⅲ常減壓裝置中的常壓塔中的原油四支(FIC-109/112)流量差壓表就是因為它們測量的是拔頭原油因為介質比較粘稠,所以這幾塊表經常出現指示偏差,就是因為導壓管出現堵的現象。平時清堵方法是給它們打沖洗甘油,用稀釋的甘油清堵,它簡單有效,所以我廠現在普遍采用。
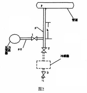
故障現象2:如某廠空分裝置中用壓力變送器測量氮氣儲罐進氣的管道壓力,在投用后其輸出電流經常偏高。圖如下:

圖2
解決過程:壓力變送器在投用以后,其輸出電流經常偏高。經分析可能是儀表的零點不穩,有漂移;也可能是在氮氣內有水汽,時間久了導壓管內有冷凝液的緣故。經過檢查儀表本身并無問題,分析現場具體情況后得知,當引壓管內全是氣體時,由于氣體密度很小,所以進變送器的壓力(設為P0)和管道內的壓力(P)相等,即P0=P。但若引壓管內有冷凝液,其高度設定為h,密度為ρ,則進變送器的壓力P0為P0=hρg P即變送器的壓力信號比管道內的壓力多了一個hρg,這樣變送器的輸出電流比實際壓力也要高出一個相應值,并隨h的變化而變化。按儀表安裝規程規定,測量氣體的變送器應裝在引壓口的上方,這樣,如果在引壓管內出現冷凝液,就會自動返回設備內。但有時條件不許可,只能安裝在下方,則須在引壓管底端裝個冷凝器見圖2的虛線。為了不經常排凝冷器可以做的大一點。工作時,閥1閥2打開,閥3關閉,只要冷凝器內的冷凝液不滿過容器,儀表的輸出就不會偏高或偏低。
結論:由于氣體取壓方式不對或導壓管安裝不符合要求(與水平成不小于1:12的斜度連續下降)時,常常造成導壓管內部積存液體的現象。這種現象的出現,往往會致使測量不準,如果在變送器量程很小的情況下,甚至會造成變送器輸出的一些波動。
三、使用與維護方法總結
變送器在測量過程中,常常會出現一些故障,故障也是多種多樣的,根據平時的維護心得可知多數原因是導壓管的堵、漏現象造成的故障但也有儀表本身和工藝操作的一些原因再加上我們這個地區冬季氣溫比較低許多管道需要伴熱線來保溫這也給我們平常維護造成了不小的麻煩。但故障的及時判定分析和處理,對正在進行了生產來說是至關重要的。我根據日常維護和學習中的經驗,總結歸納了一些判定分析方法:
1、調查:詢問工藝和察看表以前工作情況和表供電和環境變化;
2、觀察:觀察回路的外部損傷、導壓管的泄漏,回路的過熱,供電開關狀態等;
3、檢查:
(1)短路檢測:在保證安全的情況下,直接將相關部分回路短接,如差變示值偏小,可將導壓管斷開,從一次取壓閥外直接將差壓信號接到表的兩端觀察輸出以判斷導壓管堵、漏。
(2)斷路檢測:直接將懷疑部分從回路中斷開,觀看故障是否消失,如果消失,則確定故障所在,否則可進下步查找,如:智能差壓變送器不能正常Hart遠程通訊,可將電源從表體上斷開,用現場另加電源的方法為變送器通電進行通訊,以查看是否電纜是否疊加約2kHz的電磁信號而干擾通訊。
(3)替換檢測:將懷疑有故障的部分更換,判斷故障部位。
(4)分部檢測:將測量回路分割成幾個部分,如:供電電源、信號輸出、信號變送、信號檢測,按分部分檢查,由簡至繁,由表及里縮小范圍,找出故障位置。
相關產品推薦:微差壓變送器、
注明,仕樂克儀表文章均為原創,轉載請標明本文地址